随着电力系统电压的不断提高,电气设备在工作电压下的局部放电是使绝缘老化并发展到击穿的重要原因。局部放电试验是检测绝缘内部局部放电的极好的方法。因此,局部放电试验已被定为高压设备绝缘试验的重要项目之一。
一、局部放电的特征
局部放电是指发生在电极之间但并未贯穿电极的放电,它是由于设备绝缘内部存在弱点或生产过程中造成的缺陷,在高电场强度作用下发生重复击穿和熄灭的现象。它表现为绝缘内气体的击穿、小范围内固体或液体介质的局部击穿或金属表面的边缘及尖角部位场强集中引起局部击穿放电等。这种放电的能量是很小的,所以它的短时存在并不影响到电气设备的绝缘强度。但若电气设备绝缘在运行电压下不断出现局部放电,这些微弱的放电将产生累积效应会使绝缘的介电性能逐渐劣化并使局部缺陷扩大,最后导致整个绝缘击穿。
局部放电是一种复杂的物理过程,除了伴随着电荷的转移和电能的损耗之外,还会产生电磁辐射、超声波、光、热以及新的生成物等。从电性方面分析,产生放电时,在放电处有电荷交换、有电磁波辐射、有能量损耗。最明显的是反映到试品施加电压的两端,有微弱的脉冲电压出现。当试品中的气隙放电时,相当于试品失去电荷q,并使其端电压突然下降△U,这个一般只有微伏级的电源脉冲叠加在千伏级的外施电压上。所有局部放电测试设备的工作原理,就是将这种电压脉冲检测出来。其中电荷q称为视在放电量。
二、局部放电的机理
1.局部放电的发生机理
局部放电的发生机理可以用三电容模型来描述

描述局部放电几个主要参量。
(1)视在放电电荷q。它是指将该电荷瞬时注入试品两端时,引起试品两端电压的瞬时变化量与局部放电本身所引起的电压瞬时变化量相等的电荷量,视在电荷一般用pC(皮库)来表示。
(2)局部放电的试验电压。它是指在规定的试验程序中施加的规定电压,在此电压下,试品不呈现超过规定量值的局部放电。
(3)局部放电能量。是指因局部放电脉冲所消耗的能量。
(4)局部放电起始电压Vi。当加于试品上的电压从未测量到局部放电的较低值逐渐增加时,直至在试验测试回路中观察到产生这个放电值的最低电压。实际上,起始电压ui是局部放电量值等于或超过某一规定的低值的最低电压。
(5)局部放电熄灭电压Ve。当加于试品上的电压从已测到局部放电的较高值逐渐降低时,直至在试验测量回路中观察不到这个放电值的最低电压。实际上,熄灭电压ue是局部放电量值等于或小于某一规定值时的最低电压。
2.局部放电的分类
局部放电是由于电气设备绝缘内部存在的,在一定外施电压下发生的局部的和重复的击穿和熄灭现象。随着绝缘内部局部放电的发生,将伴随着如光、热、噪音、电脉冲、介质损耗的增大和电磁波放射等现象的发生。这种放电可能出现在固体绝缘的空穴中,也可能在液体绝缘的气泡中,或不同介电特性的绝缘层间,或金属表面的边缘尖角部位。所以以放电类型来分,大致可分为绝缘材料内部放电、表面放电及电晕放电。
(1)内部放电
在电气设备的绝缘系统中,各部位的电场强度往往是不相等的,当局部区域的电场强度达到电介质的击穿场强时,该区域就会出现放电,但这种放电并没有贯穿施加电压的两导体之间,即整个绝缘系统并没有击穿,仍然保持绝缘性能,发生在绝缘体内的称为内部局部放电。
(2)表面放电
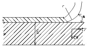
如在电场中介质有一平行于表面的场强分量,当其这个分量达到击穿场强时,则可能出现表面放电。这种情况可能出现在套管法兰处、电缆终端部,也可能出现在导体和介质弯角表面处,见图1-2。内介质与电极间的边缘处,在r点的电场有一平行于介质表面的分量,当电场足够强时则产生表面放电。

(3)电晕放电
电晕放电是在电场极不均匀的情况下,导体表面附近的电场强度达到气体的击穿场强时所发生的放电。在交流电压下,当高压电极存在尖端,电场强度集中时,电晕一般出现在负半周,或当接地电极也有尖端点时,则出现负半周幅值较大,正半周幅值较小的放电。
数字式局部放电检测系统专门用于变压器、电机、互感器、电缆、GIS、开关、避雷器等电设备的局部放电测量。其技术性能完成符合IEC-270标准及GB7354标准要求,是电器设备制作厂、发供电运行部门、电力建设安装调试部门的必备测试设备。