彩虹多多



热门关键词: 彩虹多多:高压开关动作特性测试仪 断路器特性测试仪 彩虹多多:变压器综合测试系统 承装承试设备选型 高压开关测试仪 变压器综合测试 串联谐振

联系彩虹多多

及时联系彩虹多多 为您解答产品相关疑问 欢迎拨打全国统一服务热线

销售电话: 027-8777 1781
                027-8777 1782
服务电话 133 9713 6633 
传真电话: 027-8777 1786
电子邮箱: whhdgk@126.com

继电保护测试仪输出电源的操作——差动继电器

您的位置:彩虹多多 >> 服务支持 >> 技术文章

     继上文继电保护测试仪输出电源的操作使用说明继续介绍差动继电器。根据规程要求(参见《保护继电器检验》的178页),在无外接设备情况下可做第4、9、10三项试验,在外接调压器和升流器的情况下可做第6项试验,其他不属于本仪器试验范围。

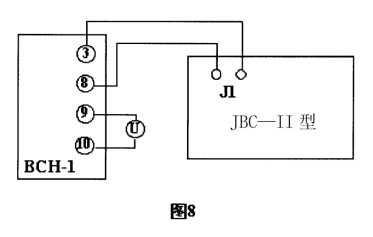
     (1)、执行元件动作电压、动作电流及返回电流检验,按下图接线:

差动继电器 

     断开(10)、(11)端子之间的连续片,按电流继电器的方法测出动作电流、返回电流,然后把交流电流升到刚才测出的动作电流值,记录此时的电压值,可用万用表测J1两端电压值。
     (2)、无制动时的起始安匝检验
本项目不是一般的定期检验项目。把工作绕组的20匝全部投入,把(10)、(11)的短路片接上,交流电流从(3)、(8)加入,触点动作信号从(5)、(7)接入触点端,按电流继电器的方法检验。
     (3)、制动特性试验
     定期检验时,仅测定Φ=0°和制动安匝为280安匝的动作安匝值。

差动继电器2 

     按上图接线,断开(4)、(6)的连接片,动作回路取39匝,制动回路取14匝,调压器(最小容量5KVA)和仪器使用同一220V电源时,调节制动电流到要求的安匝,按交流继电器的做出动作电流。如果动作安匝完全不对,可能是制动电流和动作电流的相角是180°,把制动电流反相就行了。如果仪器使用三相电中的一相,调压器使用另外一相,通过改变相别和升流器正反接可得到60°的相角。如果外接移相器,可得到0~360°的相角。

     (4)、整组伏安特性检验,按下图接线:

差动继电器3 

     交流电流加在工作绕组上(3)、(8),执行元件的电压由一块万用表从(9)、(10)读取,选择1至交流电流档,升流到所需安匝数,读取1倍、2倍、5倍安匝时执行元件端的电压值。详见《保护继电器检验》的183页。
     (5)、整定位置下的动作安匝检验试验方法与电流继电器相同,参见“五,2”


     武汉彩虹多多二十年专业从事高低压输变电测试、串联谐振耐压、绝缘耐压试验、变压器检测、断路器检测等设备的生产、销售、研发以及解决方案提供。为近百家电力工程公司,电力安装公司的承试,承装,承个试验提供试验设备及技术方案服务,得到了用户的好评。二十年累积行业经验将为更多用户提供可靠的帮助,武汉彩虹多多愿与您携手共赢,一起成长!


有关产品购买、信息咨询、技术资料等欢迎致电::027-87771780 或是
上一篇: 彩虹多多:继电保护测试仪输出电源的操作说明
下一篇: 继电保护装置的主要特点
版权说明:本站所有文章、图片、视频等资料的版权均属于彩虹多多官网-追求健康,你我一起成长 chdd ,其他任何网站或单位未经允许禁止转载、用于商业盈利,违者必究。如需使用,请与彩虹多多 联系;允许转载的文章、图片、视频等资料请注明出处"来自:武汉彩虹多多"。

荣誉客户

荣誉资质